Search our website

3-Point Cams

A range of 3-point cams that can be used as a stand alone locking mechanism or with our range of Swing Handles and Rods PR38 and PR36 to form a complete locking system.

View Lock Details
Featured Technicals
Lock Description

For further information and guidance on which Rods and accessories are available please see the Program Scheme.

Have a question?
Lock Options
Product Code Finish Inquire
3-Point Cams Zinc Plate Contact Sales
Standard Features
  • Material: Steel
  • Finish: Zinc plated

Additional Information

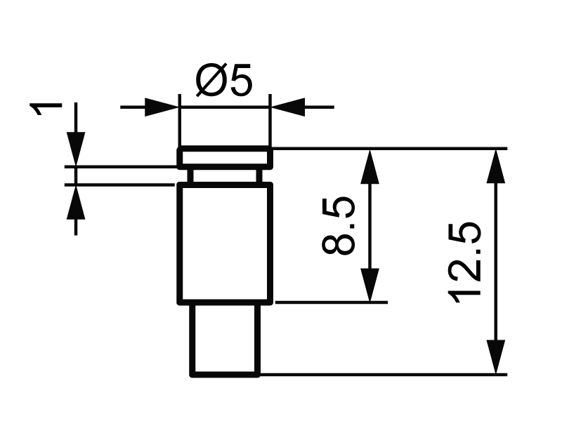
3-Point Cams technical drawing

Part Number Guide

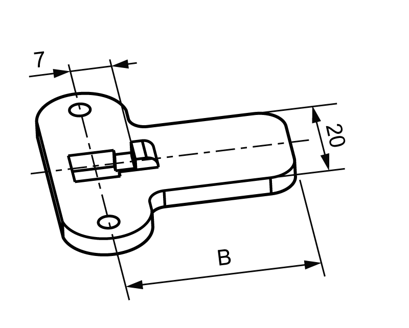
Fixing Hole Pin specification Type of crank A Dimension (mm) B Dimension (mm) Additional bending
E B 1 Dim ‘A’ expressed in 1 / 64 = 0,4 mm DB
3-Point Cams_Fixing Hole 3-Point Cams_Pin specification 3-Point Cams_1 3-Point Cams_A Dimension 3-Point Cams_B Dimension 3-Point Cams_DB
3 DX
3-Point Cams_3
00 FLAT
06 2,4 mm
08 3,2 mm
12 4,8 mm
14 5,6 mm
16 6,4 mm
18 7,2 mm
20 8,0 mm
24 9,5 mm
26 10,4 mm
32 12,7 mm
64 25,4 mm

recommended angle 90°
A < 6 recommended angle 45°

3-Point Cams_DX
4
3-Point Cams_4

NOTE: 45° crank

 Min B dimension 34 mm without DB or DX

 Min B dimension 45 mm with DB or DX

 NOTE: 90° crank

 Min B dimension 30 mm without DB or DX

 Min B dimension 45 mm with DB or DX

S
3-Point Cams_S
T
3-Point Cams_T
 Example
E B 1 00 45 DB

Suitable Rods and Accessories

 Locking Mechanism Rods (must select one) Rod Guide Cam Cover Cam Adapter  Rod Adapter
 3-Point Cam Only N/A N/A P3150 (7) P3149 (8)
 PR3803-A-B-L W108-2 (15) W105 (17)
 PR3611-L W109-1 (16)
 PR3612-L W109-1 (16)
 PR3811-L W109-2 (16)
 PR3801-L W109-2 (16) W105 (17)
 PR3813-L W108-2 (15)