Search our website

Cams for Radial Pin Tumbler Locks

 

Standard thickness: 2.8mm

Standard finish: Zinc plated

NOTE: These cams are not suitable for use with 2403, 2404, 2414 and 2422 – see Standard Cams

RETAINER PART. No. 70076-0100
2 Point Cam
TWO-POINT CAM PART. No. 65275-0120
RETAINER PART. No. 70063-0100
THREE-POINT CAM PART. No. 65283-0120
A FURTHER SELECTION OF CAMS ARE AVAILABLE ON REQUEST
PART No. DIM. B.
65274-0100
65274-0200
22,2
34,0
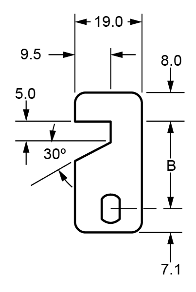
PART No. DIM. B.
65273-0100
65282-0100
31
23

To find the unique product reference number you need, please use the filters below by selecting the required dimensions of the product, marked as Dim A or Dim B.

https://www.loweandfletcherinc.com/wp-content/uploads/sites/3/2022/03/Cams-for-Radial-Pin-Tumbler-locks_1.png

Product Ref No:

https://www.loweandfletcherinc.com/wp-content/uploads/sites/3/2022/03/Cams-for-Radial-Pin-Tumbler-locks_3-600x509.png

Product Ref No:

https://www.loweandfletcherinc.com/wp-content/uploads/sites/3/2022/03/Cams-for-Radial-Pin-Tumbler-locks_4-600x509.png

Product Ref No:

https://www.loweandfletcherinc.com/wp-content/uploads/sites/3/2022/03/Cams-for-Radial-Pin-Tumbler-locks_6-600x421.png

Product Ref No: